Дом / Продукт / Механическое уплотнение / 2004, 2005, 2006 Двухконцевое механическое уплотнение

2004, 2005, 2006 Двухконцевое механическое уплотнение

Запросить котировку
Настроить рабочее колесо
Замечание
Параметры продукта

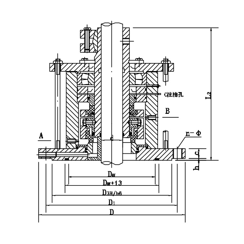
Размеры установки механического уплотнения 2004 и 2005 гг

д 30~40 45~55 60~70 75~85 90~100 110~130 140~160
Д 175 240 240 275 305 330 395
Д1 145 210 210 240 270 295 350
Д2 110 176 176 204 234 260 313
Дu 85 140 140 180 200 220 270
н-∅ 4-∅18 8-∅18 8-∅18 8-∅22 8-∅22 8-∅22 12-∅22
Л1 148 160 160 170 180 200 205
Л2 215 230 260 280 280 305 310
С 24 26 26 28 30 32 34
х 6 6 6 6 6 6 6

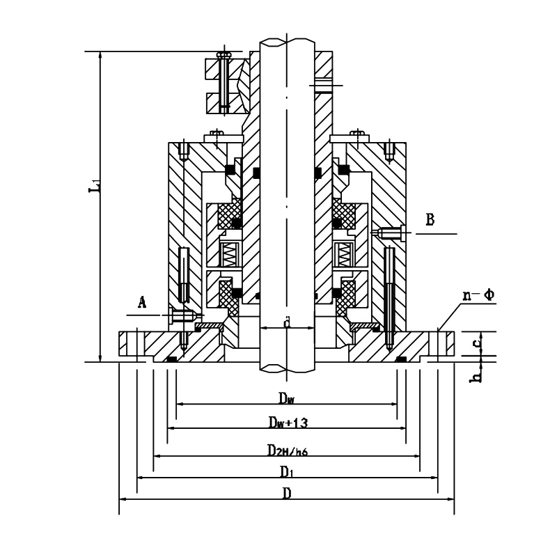
Размеры установки механического уплотнения 2006 г

д 30~40 45~55 60~70 75~85 90~100 110~130 140~160
Д 200 240 255 295 305 330 395
Д1 170 210 225 260 270 295 350
Д2 130 176 176 204 234 260 313
Дu 100 140 140 180 200 220 270
н-∅ 4-∅18 8-∅18 8-∅18 8-∅22 8-∅22 8-∅22 12-∅22
Л1 160 170 170 180 180 200 260
Лз 215 230 260 280 280 305 310
С 26 28 28 30 32 34 36
х 6 6 6 6 6 6 6